
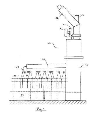
The invention relates to a process for the inertization of the headspace of bottles (18) filled with carbonated beverages, in which a jet (17) of supercooled, liquid nitrogen is introduced into the headspace of the bottle, which is not filled with the beverage, in a metered and pressure-controlled fashion at a foaming means, the gas volume previously contained in the headspace being displaced from it by the resultant foaming, and a device for carrying out the process.
